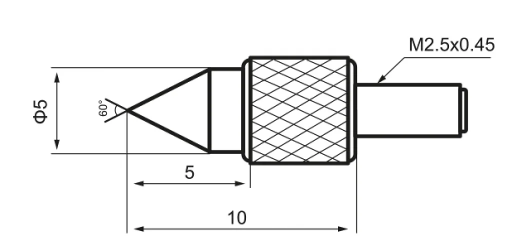
Çelik Konik Sivri Temas Ucu L10, özellikle ince ve zor erişilen noktalarda hassas ölçüm yapmak için geliştirilmiştir. Sivri yapısı sayesinde yüzeyle minimum temas ederek yüksek doğruluk sunar.
Paslanmaz ve sertleştirilmiş çelikten üretilmiş olan uç, uzun süreli kullanımda performans kaybı yaşamaz. Otomasyon sistemleri, ölçüm cihazları ve hassas test aparatlarında yaygın olarak kullanılır. Kompakt form faktörü ile her ortamda güvenle uygulanabilir.
